5月23日,安徽世豪新能源科技有限公司年產2GWh鋰離子動力及儲能電池項目開工儀式舉行,總投資3億元。

3億!安徽阜陽一新公司年產2GWh動力及儲能電池項目開工

據安徽阜陽經濟開發區投資促進局消息,5月23日,安徽世豪新能源科技有限公司年產2GWh鋰離子動力及儲能電池項目開工儀式舉行。

據悉,本次開工的年產2GWh鋰離子動力及儲能電池項目,總投資3億元,計劃分兩期建設,其中一期項目投資1.5億元,建設年產1GWh鋰離子動力電池生產線,預計2024年底建成投產。

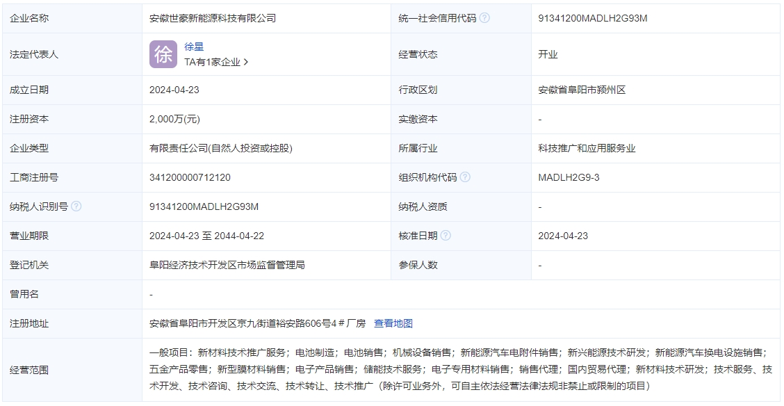
資料顯示,安徽世豪新能源科技有限公司是一家今年4月新成立的公司,公司專注于新能源鋰離子動力電池及儲能電池的研發、生產和銷售的企業。

[責任編輯:張倩]

免責聲明:本文僅代表作者個人觀點,與電池網無關。其原創性以及文中陳述文字和內容未經本網證實,對本文以及其中全部或者部分內容、文字的真實性、完整性、及時性,本站不作任何保證或承諾,請讀者僅作參考,并請自行核實相關內容。涉及資本市場或上市公司內容也不構成任何投資建議,投資者據此操作,風險自擔!

凡本網注明?“來源:XXX(非電池網)”的作品,凡屬媒體采訪本網或本網協調的專家、企業家等資源的稿件,轉載目的在于傳遞行業更多的信息或觀點,并不代表本網贊同其觀點和對其真實性負責。

如因作品內容、版權和其它問題需要同本網聯系的,請在一周內進行,以便我們及時處理、刪除。新聞熱線:400-6197-660-1

電池網微信
鋰電池
動力電池
儲能電池